发布时间:2026-01-08 09:53:28 浏览 次
作者:吴君,王克强,王鹏,张弘扬,张文学(通信作者)
单位:天津医科大学总医院 (天津 300052)
〔关键词〕辐照血液;直线加速器;质量控制
〔中图分类号〕R457.1 〔文献标识码〕B
〔文章编号〕1002-2376(2025)20-0025-06
基金项目:吴阶平医学基金(320.6750.2020-18-3)
输血相关移植物抗宿主病(transfusion associatedgraft versus hostdisease,TA-GVHD) 是一种罕见却十分严重的由输血引发的并发症,病死率达 90%以上 [1]。辐照血液是目前国际公认预防该并发症的有效方法,日本作为 TA-GVHD 的高发国家,血液辐照的比例已超 90%,美国、加拿大、英国、澳大利亚、新西兰等国的辐照血液临床应用比例已达30% ~ 50%[2]。我国血液辐照的应用仍然处于起步阶段,一方面临床医师对辐照血液的作用及适应证了解不足,部分应接受辐照血的患者未能应用,另一方面,目前只有少数采供血机构和医院开展血液辐照技术。截至 2020 年 12 月,我国安装的血液辐照仪不到 100 台,远远不能满足临床对辐照血液的需求 [3]。近年来,我国相继完成了《辐照血液临床应用中国专家共识》[3] 及《辐照血液使用指南》[4]等指导性文件,有利于提高医务人员对辐照血液的认识及合理应用,但血液辐照设备的不足仍是现今亟待解决的问题。
γ 射线血液辐照仪是一种传统的辐照设备,但由于辐射源的审批、监管难度大且回收成本高,限制了其推广应用。近年来,X 线血液辐照仪因其易审批和防护要求较低而逐渐普及,但其能量较低导致穿透力不足,难以实现辐射剂量的均匀分布。直线加速器可以提供高能 X 线,目前是 γ 射线源的最好替代,可有效解决辐照设备短缺的问题。利用直线加速器进行血液辐照的传统方法是在血袋上方和下方放置固体水,然后进行前后对穿照射 [5],操作简单,但其存在一定缺陷,如血袋周边无法达到带电粒子平衡,易造成剂量不均。近年来,研究者们设计了多种辐照箱进行血液辐照,证实了利用加速器进行血液辐照的可行性,不仅能使血液中的 T 淋巴细胞失去增殖活性,同时可以保护血液制品中的其他成分 [6-10],但这些研究中缺少辐照质量控制措施,难以保证辐照的精准。另外,制作专用辐照箱对多数医疗机构也存在一定困难,不利于推广普及。因此,本研究拟在加速器自带水箱的基础上设计一套基于直线加速器的标准化血液辐照流程及质控体系,实现精准辐照,从而解决目前国内辐照设备不足的问题,进一步推动辐照血液临床应用的普及。
1 材料与方法
1.1 辐照前准备
1.1.1 辐照箱
将 Elekta Infinity 加速器装机自带的锥形束 CT(cone beam CT,CBCT)校准水箱作为辐照箱,其由厚 1 cm 的有机玻璃制成,外部尺寸为 35 cm×25 cm×20 cm,内部尺寸为 33 cm×23 cm×19 cm。为便于观察加水深度,在辐照箱外壁粘贴水位刻度线;为测量水温,在箱体内添加温度传感器,测温探头位于箱体底部,温度显示面板置于箱体外壁;为便于摆位,在箱体外壁粘贴等中心标志,见图 1a ~ c。
1.1.2 血袋模体
利用盐水制作血袋模体,其密度为 1.05 g/cm3 ,其外侧粘贴“血液辐照指示卡”,然后将血袋模体装入真空密封袋,抽出空气后进行密封,见图1d ~ f。在进行血液辐照时,需要在“血液辐照指示卡”上填写操作人员姓名及操作时间。
1.1.3 蒸馏水和冰块
温度对血液成分的保存和安全性至关重要,全血与红细胞成分血的适宜储存温度为 2 ~ 6 ℃,单采血小板和单采粒细胞为 20 ~ 24 ℃ [8],故针对需要辐照的血液成分,准备不同温度的蒸馏水。本模拟研究中使用 20 ~ 24 ℃的蒸馏水。

注:a 为加速器自带锥形束 CT 校准水箱,b 为辐照箱上粘贴水位刻度线及等中心标志,c 为辐照箱内添加温度传感器,d 为盐水制成的血袋模体,e 为血袋模体外侧粘贴血液辐照指示卡,f 为对血袋模体进行真空密封。
图 1 辐照箱和血袋模体的准备
1.2 CT 扫描和计划设计
1.2.1 标准辐照
将 2 个装入真空密封袋的血袋模体放入辐照箱中,注入蒸馏水至 12 cm 处。然后将辐照箱放置在二维电离室矩阵(德国 IBA Dosimetry)上方,用大孔径 CT 模拟定位机(荷兰 Philips Medical Systems,型号:Brilliance Big Bore)扫描 3 mm 层厚的定位图像,导入 Monaco 系统(version 6.00.11)进行辐照计划设计。在定位图像上勾画血袋模体,作为临床靶区(clinical target volume,CTV),处方剂量为25 Gy。设计计划时,采用等中心前后对穿照射,等中心点位于水深 4 cm 处,射野为 34 cm×24 cm,加速器选择 Elekta Infinity,能量选择 6 MV,最大剂量率 600 MU/min,剂量计算选择蒙特卡罗算法 [10],计算网格为 2 mm×2 mm×2 mm,不确定度为 1%。
1.2.2 传统辐照
将 2 个血袋模体置于 2 块 1 cm 厚的固体水之间,上下方固体水分别作为剂量建成层和反向散射层。同标准辐照类似,扫描 3 mm 层厚的定位图像,勾画血袋模体为 CTV,设计等中心前后对穿照射,等中心点位于血袋中心处,射野为 30 cm×30 cm,其他计算条件同标准辐照一致。
1.3 辐照过程
1.3.1 标准辐照
首先,将 2 个装入真空密封袋的血袋模体放入辐照箱中,注入蒸馏水,观察水温变化,如超过 23 ℃,加入冰块,并调整水量,保证水深为 12 cm。然后,将辐照箱放置于二维电离室矩阵上方,利用辐照箱等中心标志调节治疗床,使计划等中心和加速器等中心一致并连接好二维电离室矩阵的控制系统。接着,进行 CBCT 扫描,图像采集参数:电压 120 kV,电流 40 mA,M20 准直器,F1 滤过器,将采集的 CBCT 图像同定位 CT 图像进行配准,修正摆位误差。最后,调取标准辐照计划,在机架角 0°和 180°时进行照射,同时用二维电离室矩阵监测辐照面剂量分布。
1.3.2 传统辐照
将血袋模体置于 2 块 1 cm 厚的固体水之间,调整治疗床,使血袋中心位于加速器等中心,调取传统辐照计划进行照射。
1.4 辐照质量控制
1.4.1 辐照前设备检测
每次辐照前用晨检仪(德国 PTW 公司,型号:Quickcheck)测量直线加速器 6 MV 射束的中心轴剂量、平坦度、对称性、射线质等,与基准值偏差 < 3%时进行辐照,否则需要对设备进行维修和校准。
1.4.2 辐照前摆位验证
按照标准条件进行二维电离室矩阵、辐照箱及辐照血袋模体的摆放,加水至 12 cm,扫描 CBCT图像,同定位 CT 进行比较,保证摆位的准确。
1.4.3 辐照中剂量监测
二维电离室矩阵用于监测辐照过程中的面剂量分布,辐照完成后将测得的剂量分布同 Monaco 放疗计划系统(treatment planning system,TPS)计算的剂量分布进行比较,在 2%/2 mm 标准下计算 γ 通过率。
1.4.4 辐照指示
利用专用的 25 Gy 血液辐照指示卡确定血袋模体是否受到处方剂量的照射。当照射 25 Gy 剂量后,指示卡由黄色变为红色。
2 结果
2.1 剂量学结果
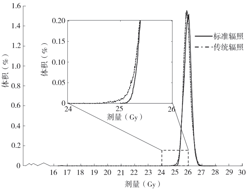
标准辐照和传统辐照的定位图像见图 2a、图2c,剂量分布见图 2b、图 2d。在标准辐照中,血袋模体受到均匀的剂量,但在传统辐照中,血袋模体边缘剂量较低。传统辐照中模体的部分体积所受剂量低于 25 Gy,而标准辐照的模体受量均高于 25 Gy,见图 3。标准辐照中血袋模体的最小剂量(Dmin)为 25.0 Gy,接受不少于 25 Gy 剂量的体积比例(V25 Gy)为 100.0%,而传统辐照中血袋模体的 Dmin 为 16.3 Gy,V25 Gy为 99.7%,两种辐照中模体的最大剂量(Dmax)基本相同,平均剂量(Dmean)相同,见表 1。

注:a 为标准辐照的定位图像及血袋模体勾画(圈出部位),b 为标准辐照的剂量分布图,c 为传统辐照的定位图像及血袋模体勾画(圈出部位),d 为传统辐照的剂量分布图。
图 2 标准辐照和传统辐照的靶区及剂量分布图

图 3 标准辐照和传统辐照的微分剂量体积直方图比较
表 1 标准辐照和传统辐照中血袋模体的剂量学参数

注:Dmin 为最小剂量,Dmax 为最大剂量,Dmean 为平均剂量。
2.2 机器跳数及出束时间
标准辐照中的机器跳数为 2 720,略高于传统辐照的 2 440;此外,标准辐照出束时间为 4.57 min,略长于传统辐照的 4.1 min。
2.3 辐照质量控制
2.3.1 辐照前加速器检测
辐照前用晨检仪检测直线加速器的射束特征,检测结果显示中心轴(central axis,CAX)剂量及射线质(beam quality factor,BQF)与基准值偏差分别为 1.1% 和 1.2%, 而 平坦度(flatness,FLAT)和对称性(symmetry,SYM)与基准值偏差均小于 1%(图 4a),符合血液辐照相关要求 [4]。
2.3.2 辐照前摆位验证
标准辐照前用 CBCT 进行摆位验证(图 4b),通过与定位 CT 的配准,可发现摆位误差,进行修正后 3 个方向的误差均 < 1 mm(图 4c)。
2.3.3 辐射指示
血液辐照指示卡在辐照前呈黄色(图 4d),当照射 25 Gy 剂量后,指示卡变为红色(图 4e),可以确定辐照的发生,也验证了辐照剂量的准确性。

图 4 血液辐照的质量控制
2.3.4 辐照中面剂量监测
在标准辐照过程中,用二维电离室矩阵直接监测辐照面剂量(图 5a),将测量结果同 TPS 计算的面剂量(图 5c)进行比较,离轴曲线见图 5b,两者基本一致。在 2%/2 mm 标准下进行 γ 分析,γ 通过率为 98.7%,γ 图见图 5d。

图 5 测量面剂量和计算面剂量的比较及 γ 分析
3 讨论
辐照血是国际公认的预防 TA-GVHD 的有效手段,利用直线加速器进行血液辐照可以解决目前国内专用设备短缺的问题,但传统辐照方法中血袋边缘无法达到带电粒子平衡,易导致剂量不足。本研究提出的标准化流程利用水作为补偿介质,不但解决了血袋周围带电粒子不平衡的问题,确保血袋受量的均匀,而且通过调节水温,保证了血液成分的活性和安全。本研究率先提出的血液辐照质量控制体系包括 4 个方面:(1)辐照前对直线加速器的检测,保证了辐照设备的精度;辐照前的摆位验证,保证了摆位的准确。(2)辐照中的剂量监测,保证了辐照过程的精准。(3)辐照指示卡保证了辐照的发生。(4)全流程的质控措施,可确保辐照的精准和安全。
辐照剂量是保证辐照血液有效性的重要因素,25 Gy 的剂量既能抑制淋巴细胞的增殖,又不会损伤有效血液成分。我国的《血站技术操作规程》[11]中规定血液辐照最低剂量为 25 Gy,血液任何位点的辐照剂量不宜超过 50 Gy,而基于加速器的传统辐照中由于带电粒子不平衡的问题,部分血液所受剂量低于 25 Gy,会导致部分淋巴细胞存活,在临床使用过程中存在风险。本研究提出的标准照射方法保证所有血液受到 25.0 ~ < 27.2 Gy 的剂量,剂量均匀性优于 PINNARò 等 [6] 及 OLIVO 等 [8] 报道的最大剂量 31.40 Gy 及 29.32 Gy,有利于保护血液中的红细胞、血红蛋白等有效成分。
质量控制是保证辐照安全性和有效性的重要环节,但在血液辐照中这方面的研究存在不足。本研究借鉴了直线加速器在肿瘤放疗中的质量控制经验,结合血液辐照具体过程,从辐照前的设备精度、摆位准度到辐照中的剂量监测,再到辐照后的确认指示,保证了辐照流程的安全。虽然在肿瘤放疗中会按照 NCC/T-RT001—2019《医用电子直线加速器质量控制指南》[12] 及 AAPM-TG142 号报告 [13]的要求,对直线加速器进行常规日检、周检、月检和年检,但只有将质量控制措施贯穿于血液辐照过程,才能真正保证辐照的精准。
血液在合适的温度下保存才能保证其活性及安全性,而以往的血液辐照均未关注这方面问题。本研究标准辐照流程中通过提前准备合适温度的蒸馏水和冰块,可根据辐照血液成分使用不同温度的水环境,并利用温度传感器实时监测水温,从而降低因温度造成的风险。
辐照成本是影响辐照血液推广普及的重要因素。本研究中所用到的设备(直线加速器、辐照箱、二维电离室矩阵、晨检仪等)均为肿瘤放疗中的常用设备,无需额外购置或制作新的物品。虽然本研究中只模拟了 2 个血袋的情况,但实际辐照过程中可以根据需要放置多个血袋,只要不超过 12 cm 水位,即可达到一致的剂量分布。且辐照时出束时间仅 4.57 min,辐照效率较高,平均辐照成本较低。
本研究仍存在一些不足,如实验中使用的是盐水制作的血袋模体,因此无法对淋巴细胞的增殖情况及其他有效成分的活性进行检测。后续研究将利用直线加速器对新鲜全血进行照射,在严格剂量学控制下检测淋巴细胞增殖、凋亡及血液成分功能等指标,以综合评估血液照射技术的安全性与有效性。
综上所述,本研究建立了一套基于直线加速器的血液辐照标准化流程及质量控制体系,可以实现精准辐照,解决目前辐照设备短缺的问题,推动国内辐照血液临床应用的普及。
【参考文献】
[1]KOPOLOVIC I, OSTRO J, TSUBOTA H, et al. A systematic review of transfusion-associated graft-versus host disease[J]. Blood, 2015, 126(3): 406-414.
[2]李剑平,朱江,李晓丰 . 我国血液辐照技术的应用与展望 [M]// 骆群 . 中国输血行业发展报告 . 北京:社会科学文献出版社,2021.
[3]辐照血液临床应用中国专家共识编写组 . 辐照血液临床应用中国专家共识 [J]. 中国输血 杂志,2023,36(9):757-766.
[4]江苏省预防医学会 . 辐照血液使用指南:T/JPMA 007—2020[S]. 南京:江苏省预防医学会,2020.
[5]刘旭红,陈晓,崔建国,等 . 直线加速器产生的 X 射线辐照血液技术的应用 [J]. 医疗装备,2013,26(7):9-10.
[6]PINNARÒ P, SORIANI A, D'ALESSIO D, et al. Implementation of a new cost efficacy method for blood irradiation using a non dedicated device[J]. J Exp Clin Cancer Res, 2011, 30(1): 7.
[7]SHASTRY S, RAMYA B, NINAN J, et al. Linear accelerator: A reproducible, efficacious and cost effective alternative for blood irradiation[J]. Transfus Apher Sci, 2013, 49(3): 528-532.
[8]OLIVO R A, DA SILVA M V, GARCIA F B, et al. Evaluation of the effectiveness of packed red blood cell irradiation by a linear accelerator[J]. Rev Bras Hematol Hemoter, 2015, 37(3): 153-159.
[9]NAGHINEZHAD J, HOSSEINI E, SIAVASHPOUR Z, et al. Designing a linear accelerator-based “X irradiation system” for platelet products: An efficient, safe, accessible and cost-effective alternative for conventional X- or gamma irradiators[J]. Sci Rep, 2024, 14(1): 28363.
[10]NAIR S S, NAGESH J, C S, et al. A dosimetric comparison study for blood irradiation employing different medium and algorithms in clinical linear accelerator[J]. J Blood Med, 2024, 15: 449-458.
[11]国家卫生健康委员会 . 国家卫生健康委关于印发血站技术操作规程(2019版)的通知:国卫医函 〔2019〕98号 [EB/OL]. (2019-04-28).https://www.nhc.gov.cn/yzygj/c100068/201905/4822b48429044e16baa2739c10fea35e.shtml.
[12]国家癌症中心 / 国家肿瘤质控中心 . 医用电子直线加速器质量控制指南 [J]. 中华放射肿瘤学杂志,2020,29(4):241-258.
[13]KLEIN E E, HANLEY J, BAYOUTH J, et al. Task Group 142 report: Quality assurance of medical accelerators[J]. Med Phys, 2009, 36(9): 4197-4212.
内容来源于《医疗装备》杂志,如需转载请注明出处。

欢迎关注《医疗装备》官方公众号