发布时间:2025-12-04 09:47:20 浏览 次
作者:汪夏艳,黄丰伟(通信作者)
单位:温州市人民医院 (浙江温州 325000)
〔关键词〕3D;打印;数控加工;医疗设备;维修;定制配件
〔中图分类号〕R197 〔文献标识码〕B
〔文章编号〕1002-2376(2025)19-0027-04
随着医院对医疗设备稳定性和维护效率要求的不断提高,传统医疗设备维修模式面临诸多挑战,尤其是在零部件供应不及时、配件价格昂贵或已停产等情况下,设备维护效率和服务质量均受到严重影响 [1-2]。在此背景下,基于数字制造理念的 3D打印和数控(computer numerical control,CNC)加工技术,为医疗设备维修提供了新的解决思路 [3-4]。3D 打印是在建模基础上通过逐层堆叠材料形成三维结构的加工方式,适合快速制造结构复杂、定制化程度高的零部件。CNC 加工技术是通过高精度机床对材料进行切削、铣削等操作制造高精度、力学性能良好工件的方法。本研究主要介绍了 3D 打印与 CNC 技术在医疗设备维修中的应用价值,并通过 2 个实际案例分别展示这两种技术的实施过程、关键参数及效果评估,为医学工程人员提供参考。
1 3D 打印与 CNC 技术简介
3D 打印技术又称为增材制造,其核心优势在于能够快速实现个性化定制,并可制造传统工艺难以实现的复杂结构,如中空、曲面、嵌套等形状,尤其适合用于快速打样和小批量非标准件的制作。3D 打印主要包括熔融沉积建模(fused deposition modeling,FDM)、光固化成型(stereo lithography apparatus,SLA)和选择性激光烧结(selective laser sintering,SLS)等方式 [5-7],不同工艺适用于不同精度、材料和表面质量的需求。3D 打印也存在一些局限,如打印材料种类相对有限(多数为工程塑料和部分金属)、成品的力学强度通常低于传统注塑件,以及大批量制造成本较高。此外,对于受力部件或高温高压环境中的结构件,其稳定性和耐用性仍需评估。
CNC 加工技术为减材制造,其最大优势在于加工精度高、表面质量好,并支持多种工程塑料及金属材料,特别适用于对尺寸精度和强度要求较高的功能部件,如轴承、联轴器、密封件等。CNC 加工在处理对称类、回转类、规则结构件时表现出极高的效率和一致性。但 CNC 加工的局限性也不可忽视,如前期需投入编程与装夹时间,加工复杂内部结构难度大,且原材料损耗较高,不太适合个性化零件的快速打样。
3D 打印适用于结构复杂、个性化程度高的非标准配件,而 CNC 加工更适合结构精密、性能要求高的功能件 [8]。在实际应用中,两者可协同使用,从而为医疗设备的维修提供更加灵活、高效、低成本的解决方案。
2 3D 打印维修应用案例:干粉支架外壳定制
2.1 故障背景与问题描述
金宝血透机广泛应用于临床透析治疗,其干粉支架用于固定 BiCart 干粉桶及消毒棒,是液路系统中的重要结构件。而在长期使用过程中,干粉支架外壳连接口处易发生断裂(图 1),导致内部 O 型圈移位或丢失,进而引起漏水故障。

图 1 干粉支架外壳断裂部位实物图
造成连接口断裂的原因主要包括:(1)设备频繁进行高温消毒,导致支架外壳材料加速老化;(2)原厂设计中该部位壁的厚度偏薄,结构强度不足;(3)在治疗结束后,干粉桶内液体未及时排空导致整体重量增加,在取出过程中产生较大挤压力,进一步加剧了接口部位的损伤。此外,由于该配件在供应链中属于低频备件,原厂库存有限,常常需要较长等待时间才能获得少量替换件,严重影响了透析设备的及时维修和正常使用。
2.2 建模设计与改进思路
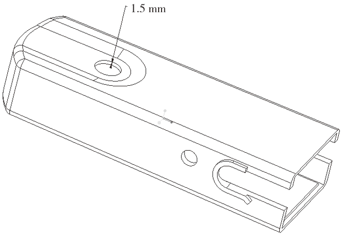
鉴于干粉支架结构相对简单、具备对称性,本研究采用正向建模方式,使用 Creo Parametric 软件依据实物测量数据建模。初版模型保持原设计尺寸,整体壁厚 3 mm,接口处壁厚 1 mm。但初次打印样品在临床短期使用后再次断裂,分析认为接口处壁厚不足,无法承受干粉桶的重量与消毒热胀应力。为此,第二版模型将接口壁厚加至 1.5 mm(图 2),其他参数不变,增强其结构稳定性。模型导出为STL 格式,设置高精度参数(弦高 0.015 mm,角度控制 0.05°,步长 1 mm)以保证打印精度。

图 2 建模界面与改进后结构图
2.3 材料选择与打印评估
由于血透机每日需进行 93 ℃的高温消毒 [9],打印材料需兼具良好的耐热性和结构强度。原厂外壳材料为 PBT 塑料,熔点 233 ℃,整体外壳为一次性注塑成型。考虑到 PBT 材料不适用于 3D 打印,为筛选最适用于干粉支架外壳的打印材料,本研究选用 ASA 工程塑料、CBY 树脂和 1172Pro 尼龙材料 3 种不同材质进行打样测试,3 种材料的基础性能见表 1。3 种材料打样的干粉支架外壳外观质量、热稳定性和临床使用表现的综合评估结果如下:(1)采用 ASA 工程塑料打样的干粉支架外壳在实际使用过程中具备较好的热稳定性,未发生热变形,表现出一定的耐温性能;然而,该材料在成型过程中层纹较为明显,外观粗糙,易在表面形成透析液晶体残留,增加了院内感染(院感)风险,不利于医疗器械在高标准清洁环境中的长期使用;(2)采用 CBY 树脂材料打样的支架外壳在高温高湿的消毒环境中出现明显热变形,说明其热稳定性不足,无法满足医疗设备对耐高温消毒的基本要求,存在较大使用安全隐患;(3)采用 1172Pro 尼龙材料并通过 SLS 工艺打印的干粉支架外壳在结构强度、尺寸稳定性及表面质量方面表现优异,在多次消毒与临床实际使用过程中,样件未出现热变形、裂纹或其他机械性能下降的现象,其表面平整度较好、容易清洁、不易积留杂质。因此,综合考虑材料性能、加工工艺适配性与临床使用反馈,最终选定 1172Pro 尼龙材料作为干粉支架外壳的生产用材,采用 SLS 工艺进行打印成型。如图 3 所示,打印样件在长期临床应用中表现稳定,无明显形变或损伤,完全满足实际使用需求。
表 1 不同打印材料的性能比较

注:FDM 为熔融沉积建模,SLA 为光固化成型,SLS 为选择性激光烧结。

图 3 1172Pro 尼龙材料打印实物图
3 CNC 加工维修应用案例:流量传感器轴承定制
3.1 故障背景与问题描述
工作人员在一次设备日常巡检过程中发现,系统报警提示“回水流量为 0”,导致热消毒程序无法启动。初步排查认为为回水流量计故障所致。
回水流量计是金宝中心水处理系统中控制病房管路热消毒流程的关键部件,可实时监测回水管路的流量信号,并将流量变化转换为电信号反馈至控制系统,以判断水循环是否达标并启动热消毒程序。回水流量计由流量通道、转翼组件、径向轴承与转轴、信号采集单元(霍尔传感器)及外壳组成,水流推动内部转翼旋转,转翼上嵌有磁性元件,当其旋转经过霍尔传感器时产生脉冲信号,系统根据脉冲频率计算实际流量值。径向轴承用于支撑转轴,保证转翼在高速流动下平稳旋转,是维持测量精度与灵敏度的关键部件。在现场拆解中发现,流量计内的转翼组件无法正常旋转,而其电信号采集单元(霍尔传感器)无明显异常。进一步分析后确认,故障原因是内部径向轴承严重磨损,导致转轴偏心运行,进而造成转翼卡滞。该径向轴承为定制非标零件,原厂不单独提供此类维修件,仅支持整套流量计更换,价格较高且供货周期较长。为降低成本并加快维修效率,尝试通过正向建模与 CNC加工方式自行制作该轴承,以完成部件修复。
3.2 建模与 CNC 加工方案
经测量,损坏的径向轴承尺寸为外径 5 mm、高 3 mm,为中空圆柱体结构。该部件对尺寸精度与装配间隙要求较高,且工作条件要求其具备良好的机械强度与耐久性。由于零件体积较小、结构对称、无复杂曲面,传统 3D 打印在尺寸精度和性能方面难以满足使用要求,因此最终选择采用 CNC加工方式进行定制生产。使用 Creo Parametric 软件对原有部件进行正向建模,见图 4。选用与原流量计内部轴承材质一致的 PA(聚酰胺)尼龙材料进行加工,该材料具备良好的耐磨性和水环境适应性,能够满足流量计在纯水环境下高频使用的长期运行需求。

图 4 径向轴承建模图
3.3 加工成品与维修效果
零件在 CNC 车床上完成加工后,与原损坏部件进行测量对比(图 5),结果显示,CNC 加工件的尺寸精度良好。装配至转翼组件后,转动顺畅,无明显摩擦或卡滞现象,机械配合性能良好。在重新组装完成并将流量计安装回水处理系统后,回水流量显示恢复正常,设备功能完全恢复,后续运行过程中稳定可靠,无再次报警或性能异常情况发生。

图 5 原损坏轴承与 CNC 加工轴承成品对比图
4 总结
随着医疗设备种类的不断丰富和临床对设备可用性要求的提升,传统维修方式在应对关键部件损坏、备件停产或供应周期长等问题时,常出现效率低、成本高、响应慢等情况。为解决医院医疗设备维保过程中零部件短缺的技术瓶颈,3D 打印与CNC 加工等数字化制造技术,逐步显现出在医疗设备维修领域的应用潜力 [10]。本研究通过金宝血透机干粉支架和中心水处理系统流量传感器 2 个典型案例,验证了 3D 打印与 CNC 加工路径的可行性与实用价值。在干粉支架维修中,应用 SLS 选择性激光烧结工艺及高耐热尼龙材料,成功制造出可满足高温消毒要求的替代外壳;在流量传感器修复中,利用 CNC 数控加工技术精确还原微型轴承结构,实现设备功能的有效恢复。从技术特性来看,3D打印适用于几何结构复杂、定制化需求高但力学性能要求相对较低的塑料类零部件;而 CNC 加工则适合尺寸精度高、材料强度要求严苛的金属或工程塑料部件。两者在医疗设备维修中各有优势,互为补充,能够根据部件特性灵活选择,从而提高维修效率与经济性。尽管如此,两项技术在实际应用中亦存在局限性,如 3D 打印的力学性能和材料适配性尚需进一步提升,CNC 加工则对复杂内腔结构或超小尺寸零件存在加工难度。因此,在应用过程中需综合考虑部件的结构特征与功能需求,合理选用制造路径。
未来,随着三维扫描、逆向建模、智能制造与材料技术的持续发展,该类数字化快速制造技术有望在更多医疗设备中推广应用,尤其适用于老旧设备延寿、临床急需部件应急制造以及标准配件再生产等场景。构建“数字建模—快速制造—精准修复”的技术闭环,将为实现医院“精益维修”管理目标、提升设备可用性与运行效率提供有力支撑。
【参考文献】
[1]蔡润秋,朱铱楠,巫琦 . 贝朗 compact 注射泵的注射器夹3D 打印实践 [J]. 医疗卫生装备,2022,43(9):97-101.
[2]李雨录,杨永昆,陈小玲 . 用3D打印技术修复GlideScope Ranger 视频喉镜 [J]. 医疗卫生装备,2019,40(10):107-108.
[3]申路,孙健峰,黄忠葵 . 基于3D 打印技术的医疗设备维修研究 [J]. 数码设计,2017,6(7):138-141.
[4]顾航,张增辉 . 关于医疗器械维修技术的探究 [J]. 中国仪器仪表,2025,(2):93-95.
[5]张力,杨现锋,徐协文,等 . 熔融沉积法3D 打印制备氧化锆陶瓷及其力学性能研究 [J]. 无机材料学报,2021,36(4):436-442.
[6]邓宇豪,张爱民,包建军 . 双固化 3D 打印弹性体光敏树脂的制备与性能 [J]. 高分 子材料科学与工程,2020,36(7):112-117.
[7]陈旭 . 选择性激光烧结技术在机械制造领域中的应用 [J]. 制造技术与机床,2022,(12):11-14.
[8]叶冬森,沈培良,张大川,等 . 3D 打印技术与传统加工技术对比的优缺点 [J]. 民用飞机设计与研究,2021,(4):126-130.
[9]高思,杨海洁,游苗苗,等 . Gambro 血液透析机温度报警故障的分析与解决方案 [J]. 中国医学装备,2018,15(12):174-175.
[10]胡佳,赵英豪 . 论医院医疗设备维修的创新思维 [J]. 中国设备工程,2023,(8):35-37.
内容来源于《医疗装备》杂志,如需转载请注明出处。

欢迎关注《医疗装备》官方公众号