发布时间:2025-10-30 13:25:16 浏览 次
作者:余巧生,史艳丽
单位:武警北京市总队医院 (北京 100027)
〔关键词〕核素治疗;分装热室;医用单向阀
〔中图分类号〕R197.39 〔文献标识码〕A
〔文章编号〕1002-2376(2025)16-0025-04
基金项目:国家实用新型专利(CN221723465U)
单向阀又称为非返回阀或逆止阀,是流体控制装置,可控制流体朝单方向流动并阻止其返流,被广泛应用于气动、液压、水处理及自动化控制系统等领域。医用单向阀通常由阀体、阀芯、弹簧、密封件等部件组成。医用单向阀的工作原理基于其内部的阀芯、弹簧结构及流体力学原理。当设备系统中的压力大于单向阀的开启压力时,阀芯受压力推动打开,允许流体通过;当系统中的压力小于阀芯关闭压力时,阀芯在弹簧作用下将阀门关闭,从而阻止流体逆流。医用单向阀在医疗设备中应用广 泛,如呼吸麻醉设备中的呼气阀、吸气阀,负压吸引装置、体外循环和输液系统中防逆流的止回阀等,均是不同功能设计的医用单向阀,可提升医疗设备的安全性、工作效率及智能化水平。现有流体单向阀阀体内嵌件的内部设置有止推件、弹簧及密封垫等弹性阀门组件,密封通道总体采用锥形口设计,但实际医疗应用中,这种单向阀的流体通过性和密封质效方面仍然存在不足。例如,在放射性核素的分装、运输、注射等过程中,对核素的放射性屏蔽防护和防泄漏级别要求较高。而现有流体单向阀在人工核药向活度井输出、输入及分装热室通风控制上存在不足,难以确保医疗安全。基于此,本研究总结了现有医用单向阀的不足并设计了一种新型医用单向阀 [ 已获国家实用新型专利(CN221723465U)] [1],对其进行测试观察应用效果,旨在提高医疗设备密封性、降低系统运行阻力、提高设备耐用性、降低维护难度,并应用于分装热室中以防止空气泄漏和放射性污染,现报道如下。
1 现有医用单向阀的不足
1.1 存在泄漏风险
医用单向阀经长期使用会出现材料老化,导致阀门密封不严或密封失效,引起液体或气体泄漏,导致药物剂量不精准、药物污染,影响患者治疗效果或增加感染风险。部分单向阀在关闭时无法完全阻断逆流,产生反向泄漏,尤其在压力波动较大时可能导致污染或交叉感染。
1.2 压力敏感性受影响
若医用单向阀设计的开启压力过高,阀门需较高压力才能开启,可能增加设备能耗。如果呼吸机的呼气单向阀开启压力过高,则需更大动力才能产生正向降压,从而会使患者呼吸负担加重。若医用单向阀开启压力过低,则阀门触发元件可能无法有效关闭。如负压引流系统中,单向阀开启压力过低会导致液体逆流或负压功能失效。
1.3 存在材料的生物相容性问题
当接触某些药物、消毒剂或体液时,医用单向阀阀门材料可能发生溶胀、降解或化学反应,影响密封性,并可释放有害物质,引发患者过敏或产生炎性反应。
1.4 存在堵塞风险
当医用单向阀用于处理含颗粒药液、血液或高黏度液体时,阀门可能因堵塞而失效,需频繁清洁或更换。结构复杂的医用阀门可能难以彻底消毒,易导致微生物滋生并形成生物膜,增加堵塞风险。
1.5 耐用性与寿命周期限制
若医用单向阀频繁开合或在高压环境下作业,可增加弹簧、膜片等阀门组件的机械磨损,缩短其使用寿命。长期使用后,弹性材料可能因疲劳失效并失去回弹力,导致阀门无法正常关闭。
1.6 温度敏感性受影响
由于热胀冷缩,极端温度可影响医用单向阀的材料性能,如硅胶材料会变硬或软化,导致密封性下降或开启压力变化;高温高压灭菌可能加速医用单向阀材料老化,影响阀门的使用寿命。
1.7 安装与使用的局限性
部分医用单向阀有方向依赖性,安装方向错误可导致阀门完全失效,需要严格遵循操作指南进行安装。某些医用单向阀具有最大流量限制功能,不适用于高流速场景(如快速输液)使用。
1.8 维护成本较高
部分精密医用单向阀(如使用抗腐蚀、高生物相容性等高成本材料)维修时更换配件的成本较高,且设备维护保养时需定期更换、清洁或校准易损及消耗件,部分阀体拆卸、消毒程序复杂,清洁和维护不便,因此增加了使用成本。
2 新型分装热室医用单向阀的设计
2.1 新型分装热室医用单向阀整体结构设计
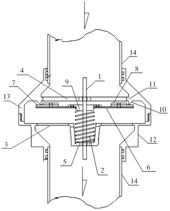
本研究设计的新型分装热室医用单向阀由负压吸入和排出管路、截面镂空风孔、密封截面定压弹簧、硅胶弹性膜片、环装刀刃密封截面、同心无阻尼垂直定向装置、外壳等部件组成,如图 1 ~ 2 所示。在中粗型扩管节内腔沿轴线间隔设置轴向滑配中心轴的前后镂空支架,并在后镂空支架前方设置前伸管座;与前伸管座前端扣合的阀片密封套装固定于中心轴上,阀片后面设置与前伸管座前端密封扣合的弹性密封片;在阀片与前镂空支架间的中心轴外套设置支撑弹簧。前、后镂空支架能为中心轴提供更可靠、耐用的轴向滑配支撑。在阀片及弹性密封片离开前伸管座时,与同径及窄径管节相比,能提供更好的流体通过性,并易实现流通性大于串接管路本身。由于前伸管座与阀片可通过弹簧作用于弹性密封片进行压合密封,密封接触面窄,易密封且密封度高,出现密封故障的概率较低。因此,新型分装热室医用单向阀实现了流体通过性好、密封质效高、易依靠流体自行开闭,特别适合人工核药向活度井的输出、输入和分装热室负压通风管路自开闭控制,即当负风压或正风压消失后,此医用单向阀能自动严密封闭管路。

注:1 为轴向滑配中心轴,2 为支撑弹簧,3 为前镂空支架,4 为后镂空支架,5 为前凸镂空桶形座,6 为阀片,7 为弹性密封片,8 为环状压板,9 为前凸台,10 为前伸管座,11 为内凸环,12 为前扩管帽节,13 为后扩管座节,14 为上下游流通管路。
图 1 新型分装热室医用单向阀吸入气密状态的结构示意图

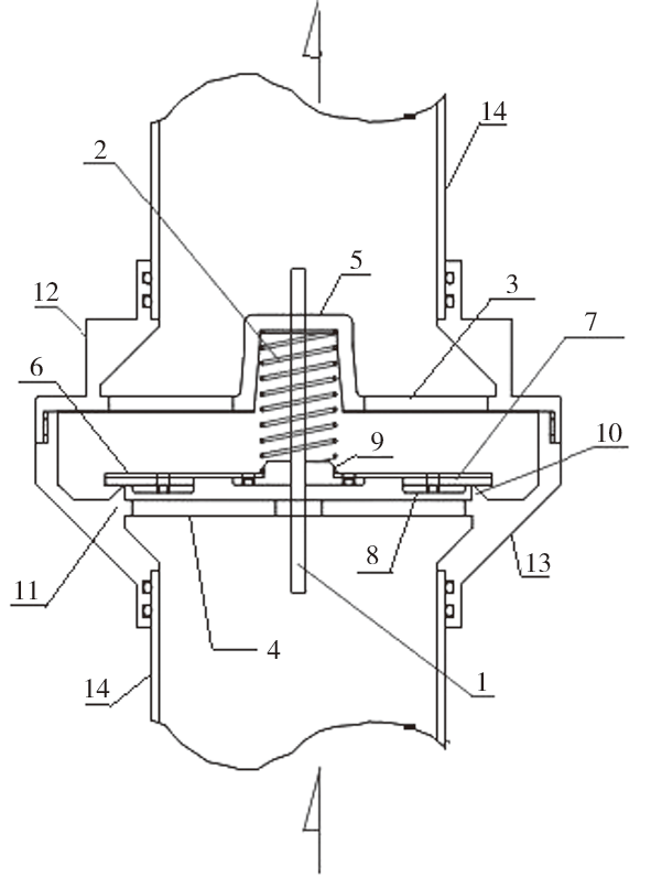
注:1 为轴向滑配中心轴,2 为支撑弹簧,3 为前镂空支架,4 为后镂空支架,5 为前凸镂空桶形座,6 为阀片,7 为弹性密封片,8 为环状压板,9 为前凸台,10 为前伸管座,11 为内凸环,12 为前扩管帽节,13 为后扩管座节,14 为上下游流通管路。
图 2 新型分装热室医用单向阀排出气密状态的的结构示意图
2.2 新型分装热室医用单向阀各部件功能
2.2.1 弹性密封片
弹性密封片为硅胶弹性膜片。硅胶弹性膜片与其他弹性材料相比,不易挂污、弹性好,更加耐用,特别适合与前伸管座前端压合密封。弹性密封片设计为圆环片形,与阀片间无间隙残留。圆环片形弹性密封片的内环部通过环状压板及其环状分布的紧固钉与阀片密封紧固,不会影响或污染流通的药物,且内环部固定方式比外环部固定流通性好。
2.2.2 前凸镂空桶形座
前镂空支架前设置用于容纳支撑弹簧的前凸镂空桶形座。前凸镂空桶形座为直桶形或锥桶形,可在不增加前后镂空支架间距的前提下,增加弹簧长度,提升弹簧支持下的密封张开性能,可靠性及可操作性更好。与直桶形相比,锥桶形前凸镂空桶形座前端能更好地束缚支撑弹簧前端,提高密封可靠性,且其中后部内腔不与支撑弹簧接触,更利于流体流通。
2.2.3 前伸管座、前凸台
前伸管座为前窄后宽的梯形管壁式前伸管座和前细后粗的环状刀刃式前伸管座,更易压合,实现可靠密封。梯形管壁为等腰或直角梯形,直角梯形占用流通空间更少,小低角等腰梯形对弹性密封片具有一定的辅助支撑作用。后镂空支架前设置有用于支撑弹簧基部的前凸台,可保证支撑弹簧在伸缩时稳定性好,有利于提高扣合的密封性能。
2.2.4 中粗型扩管节
中粗型扩管节由前镂空支架的前扩管帽节和后镂空支架及前伸管座的后扩管座节密封扣接而成,方便制造和拆装维护。
2.2.5 前扩管帽节
前扩管帽节是前直管口向后延伸的前细后粗的后伸口喇叭状扩管,在后伸口喇叭节中部设置前镂空支架,便于一体注塑成形;后扩管座节是前粗后细的内凸环状前伸口喇叭节,在前伸口喇叭节中部设置后镂空支架,在前伸口喇叭节中部设置前伸管座,有利于为流体设置更宽敞的流通空间。
2.2.6 后扩管座节
后扩管座节是后直管口向前延伸的前向喇叭状扩管,喇叭状扩管用于与前扩管帽节密封扣合。前后管座间采用螺接,内套管座前端与外套管座内环台间压设硅胶密封圈,既方便拆装维护,又能保证可靠密封对接。其中,后向喇叭状扩管后端延接设前镂空支架的外展环台,有利于增加流体回旋空间,保障流通性。前向喇叭状扩管内腔中部设置内凸环,内凸环内周设置后镂空支架,内凸环向前设置前伸管座,在保障扣合密封性的同时增加流体回旋空间及流通性。外展环台外周向后延伸的后向管座可与前向喇叭状扩管向前延伸的前向管座密封扣合,不仅有利于牢固密封对接,还有利于扩大流通空间。前直管口和后直管口分别用于外套延接或内螺纹螺接上下游流通管路,特别是医用管路,同时对接环面并通过硅胶密封圈密封。
2.3 应用方法
分装核素药物进行自动灌装前,所分装核素药物需进入自动封装热室活度计井内进行药量活度检测 [2]。在活度计井入口(即负压吸入风管进风口)处安装本研究设计的新型分装热室医用单向阀,在活度计井出口(即负压排出风管出风口)处安装本研究设计的新型分装热室医用单向阀,保证分装核素药物与外界隔离。当分装核素药物在有辐射防护功能的分装通风防护柜工作台内进行活度检测时,通过自动升降装置及正负气压控制定压弹簧的形变实现气密封单向阀的开闭,使分装好的核药瓶进入活度计井和落瓶排出。
3 应用效果
在箱体内放置 D600 型气体密封检漏仪(无锡雷克检测技术有限公司)传感头,检测新型分装热室医用单向阀的气密性,同时通过空气压缩机向不锈钢增压箱体内增压至 100 kPa 进行保压试验,初始记录压力值为 100 kPa。在单向阀闭合后,保持环境温度稳定和无外界气流干扰,24 h 后再次通过精密压力表和气体密封检漏仪观察,发现 100 kPa 数值无变化,时间与压力曲线为直线,泄漏率为 0(无泄漏值)。表明在测试压力下增压箱内气压随时间无持续下降或波动,阀体未发生任何泄漏和变形。设计的新型分装热室医用单向阀密封性能和通过性能均较好,不会发生介质倒流现象。见图 3。

注:1 为精密千帕表,2 为气密单向阀,3 为单向阀,4 为空气压缩机,5 不锈钢增压箱体。
图 3 新型分装热室医用单向阀性能检测示意图
4 总结
单向阀作为一种控制阀门装置,当被应用于放射性核素分装中时,必须保证单向阀的反向密封性能可靠,否则将会引起反向卸压,造成泄漏 [3]。本研究通过了解单向阀的结构和工作原理,采用耐化学腐蚀、生物相容性更佳的材料,设计改进医用单向阀,简化结构、减少死角以降低堵塞和清洁难度。新型分装热室医用单向阀的流体通过性好、密封质效高,易依靠流体自行开闭,适合人工核药向活度井的输出、输入及分装热室负压通风管路自开闭控制,即当负风压或正风压消失后,会依靠此医用单向阀自动严密封闭管路,做到严防空气泄漏和放射性污染以实现更好的辐射防护效果。使用时,要注意定期维护保养,经常检查和更换阀体、阀芯、润滑弹簧等易损部件,保证正常工作的同时延长其使用寿命。在实际应用中,需根据具体场景(如呼吸支持、输液、引流)权衡单向阀的性能与局限性,并配合定期维护和检测以确保安全性和可靠性;通过调节弹簧张力或膜片厚度改变压力适应性。此外,可增设集成传感器实时监测阀门状态,进行智能化预警监测泄漏或堵塞,以适应不同压力场景。
【参考文献】
[1]余巧生 . 医用单向阀:CN202420476415.5[P]. 2024-09-17.
[2]余巧生,葛贤顺,仝青英,等 . 一种新型放射性核素分装防护柜的研制 [J]. 中国医疗设备,2014,29(7):23-25.
[3]余巧生,张葆现,葛贤顺,等 . 放射性注射药物的集成防护方法及防护系统的设计 [J]. 医疗卫生装备,2014,35(10):11-15.
内容来源于《医疗装备》杂志,如需转载请注明出处。

欢迎关注《医疗装备》官方公众号